你提供的照片可能用于改善必应图片处理服务。
隐私政策
|
使用条款
无法使用此链接。检查链接是否以 "http://" 或 "https://" 开头,然后重试。
无法处理此搜索。请尝试其他图像或关键字。
试用视觉搜索
使用图像搜索、识别对象和文本、翻译或解决问题
将一个或多个图像拖到此处,
上传图像
或
打开相机
将图像放置到任意位置以开始搜索
要使用可视化搜索,请在浏览器中启用相机
English
全部
搜索
图片
灵感
创建
集合
视频
地图
资讯
更多
购物
航班
旅游
笔记本
新版本
自动播放所有 GIF
在这里更改自动播放及其他图像设置
自动播放所有 GIF
拨动开关以打开
自动播放 GIF
图片尺寸
全部
小
中
大
特大
至少... *
自定义宽度
x
自定义高度
像素
请为宽度和高度输入一个数字
颜色
全部
仅限颜色
黑白
类型
全部
照片
剪贴画
素描
动画 GIF
透明
版式
全部
方形
横版
高
人物
全部
仅脸部
半身像
日期
全部
过去 24 小时
过去一周
过去一个月
去年
授权
全部
所有创作共用
公共领域
免费分享和使用
在商业上免费分享和使用
免费修改、分享和使用
在商业上免费修改、分享和使用
详细了解
清除筛选条件
安全搜索:
中等
严格
中等(默认)
关闭
筛选器
新版本
🎉
新增功能
我们邀请你试用新版图像搜索,请切换查看。
768×1024
scribd.com
Understanding How System Clo…
400×448
blogspot.com
COMPUTER HARDWARE: SysTe…
200×140
blogspot.com
Digital World: System Clock
1024×768
storage.googleapis.com
Function Of Clock In Computer System at Tracy Dibenedetto blog
1024×768
storage.googleapis.com
Function Of Clock In Computer System at Tracy Dibenedetto blog
558×234
hobbyprojects.com
System Clock Tutorial & Circuits - Microprocessor Systesms Tutorials ...
736×619
nl.pinterest.com
Computer Board Clock | Uniek, handgemaakt en v…
850×492
researchgate.net
Design of system clock | Download Scientific Diagram
320×240
SlideServe
PPT - SYSTEM CLOCK PowerPoint Presentation, free download - ID:2631546
515×512
storage.googleapis.com
What Is A System Clock In A Computer at Isaac …
1024×768
storage.googleapis.com
What Is A System Clock In A Computer at Isaac Randy blog
1516×872
edrawmax.wondershare.com
Clock System Block Diagram for You
1516×872
edrawmax.wondershare.com
Clock System Block Diagram for You
2048×1080
storage.googleapis.com
What Is Clock Frequency In A Computer System at Monica Drolet blog
300×300
Electronic Circuits
How Clock in Computer works
945×822
Stack Exchange
microcontroller - What is the difference between process…
640×640
researchgate.net
Schematic of the clock generator: (a) system clock; (b) microcontrol…
850×1104
researchgate.net
Schematic of the clock generato…
640×640
researchgate.net
Schematic of the clock generator: (a) syste…
1040×866
www.instructables.com
Mainboard Clock : 4 Steps (with Pictures) - Instructab…
1369×507
cs.stackexchange.com
computer architecture - What are system clock and CPU clock; and what ...
697×452
cs.stackexchange.com
computer architecture - What are system clock and CPU clock; and …
1024×819
elecschem.com
A Comprehensive Guide to Understanding Clock Schematic Diagrams
1200×912
elecschem.com
A Comprehensive Guide to Understanding Clock Schematic Di…
1200×944
elecschem.com
A Comprehensive Guide to Understanding Clock Schematic …
568×514
storage.googleapis.com
Quartz Crystal In Computer Internal Clock at Thomas Gabaldon blog
355×300
www.instructables.com
Mainboard Clock : 4 Steps (with Pictures) - Instructables
1682×882
electronics.stackexchange.com
computer architecture - Memory clock and Bus clock - Electrical ...
768×144
knowcomputing.com
Functions and types of the system clock in computers - Know Computing
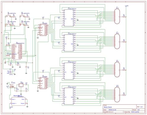
756×1008
etsy.com
Motherboard Clock - Etsy
735×499
www.pinterest.com
Motherboard Clock
600×600
etsy.com
Motherboard Clock - Etsy
1365×1024
www.instructables.com
Motherboard Wall Clock - Instructables
864×991
kprasadvnsi.github.io
8. System Clock | CH559 Doc English
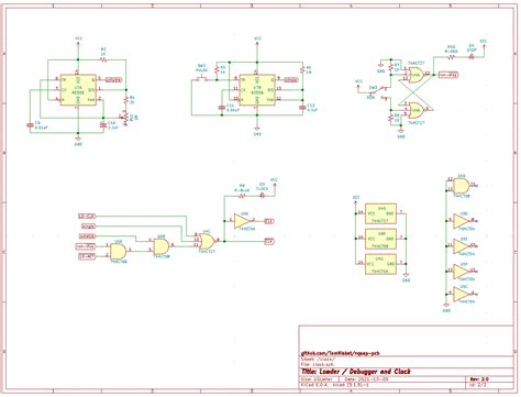
1362×1038
tomnisbet.github.io
System Clock - NQSAP-PCB
某些结果已被隐藏,因为你可能无法访问这些结果。
显示无法访问的结果
报告不当内容
请选择下列任一选项。
无关
低俗内容
成人
儿童性侵犯
反馈