你提供的照片可能用于改善必应图片处理服务。
隐私政策
|
使用条款
无法使用此链接。检查链接是否以 "http://" 或 "https://" 开头,然后重试。
无法处理此搜索。请尝试其他图像或关键字。
试用视觉搜索
使用图像搜索、识别对象和文本、翻译或解决问题
将一个或多个图像拖到此处,
上传图像
或
打开相机
将图像放置到任意位置以开始搜索
要使用可视化搜索,请在浏览器中启用相机
English
全部
搜索
图片
灵感
创建
集合
视频
地图
资讯
更多
购物
航班
旅游
笔记本
PowerPC 的热门建议
PowerPC
Logo
iMac
G3
iMac
G5
PowerBook
Power
Mac
Power Mac
G4
Mips架构
P2020
Ibm电脑
电脑cpu图片
PowerPC
615
Pc电脑
计算机cpu图片
PowerPC
T2080
Apple产品
XScale
Freescale
Apple
Macintosh
个人电脑
Arm
系列
Ppc结构式
iMac G5
Intel
3U
VPX
Power Macintosh
9600
电脑硬件图片
单板机
iMac G5
A1207
Powrbook
Jm7200
XMC
Power Macintosh
5200
缩小PowerPC的搜索范围
CPU
PC
Open
Firmware
Mac OS
3
Processor
PNG
Memory
Architecture
Core
I5
Memory
Model
IBM
ThinkPad
Instruction Set
Manual
Mac
G4
Mac
Emulator
Block
Diagram
Mac
Laptop
Release
Timeline
Old MacBook
Pro
CPU
Architecture
Mac Mini
G4
Single Board
Computer
Microsoft Office
Mac
Mac
Pro
ECU
Architecture
NXP
Device
Desktop
Computer
Modern
PC
Windows
NT
G3
Logo
Assembly Language
Logo
Logo
png
Instruction
Set
IBM
Apple
Logo
Processor
Macintosh
$601
£750
£970
Icon
750CL
Computer
Chip
Macintosh
G3
System
浏览类似 PowerPC 的更多搜索
Apple
Dtk
Arm
Logo
Old
Apple
Mac
OS
标志
$405
750
G3
E500v2
Wikipedia
Freescale
Fabs
Isa
Windows
Automotive
360
€
7447A
970FX
£604
对 PowerPC 感兴趣的人还搜索了
Power
Architecture
ARM
Architecture
X86
MIPS
Architecture
Motorola
68000
SPARC
Mac OS
7
iMac
G4
Reduced Instruction
Set Computer
Itanium
Xeon
DEC
Alpha
Freescale
Semiconductor
NeXT
Broadway
Superh
iMac
G3
Intel
iMac
IBM
Power
Power
Macintosh
自动播放所有 GIF
在这里更改自动播放及其他图像设置
自动播放所有 GIF
拨动开关以打开
自动播放 GIF
图片尺寸
全部
小
中
大
特大
至少... *
自定义宽度
x
自定义高度
像素
请为宽度和高度输入一个数字
颜色
全部
仅限颜色
黑白
类型
全部
照片
剪贴画
素描
动画 GIF
透明
版式
全部
方形
横版
高
人物
全部
仅脸部
半身像
日期
全部
过去 24 小时
过去一周
过去一个月
去年
授权
全部
所有创作共用
公共领域
免费分享和使用
在商业上免费分享和使用
免费修改、分享和使用
在商业上免费修改、分享和使用
详细了解
清除筛选条件
安全搜索:
中等
严格
中等(默认)
关闭
筛选器
PowerPC
Logo
iMac
G3
iMac
G5
PowerBook
Power
Mac
Power Mac
G4
Mips架构
P2020
Ibm电脑
电脑cpu图片
PowerPC
615
Pc电脑
计算机cpu图片
PowerPC
T2080
Apple产品
XScale
Freescale
Apple
Macintosh
个人电脑
Arm
系列
Ppc结构式
iMac G5
Intel
3U
VPX
Power Macintosh
9600
电脑硬件图片
单板机
iMac G5
A1207
Powrbook
Jm7200
XMC
Power Macintosh
5200
526×546
piembsystech.com
PowerPC Processor - PiEmbSysTech
678×678
alchetron.com
PowerPC - Alchetron, The Free Social Encyclopedia
1024×910
cpumuseum.jimdofree.com
IBM PowerPC Architecture - CPU MUSEUM - MUSEUM OF MICROPROCESSORS & DIE ...
1024×707
cpumuseum.jimdofree.com
IBM PowerPC Architecture - CPU MUSEUM - MUSEUM OF MICROPROCESSORS & DIE ...
1024×717
cpumuseum.jimdofree.com
IBM PowerPC Architecture - CPU MUSEUM - MUSEUM OF MICROP…
1135×788
fpgadeveloper.com
The PowerPC - FPGA Developer
1024×768
slideserve.com
PPT - POWERPC PowerPoint Presentation, free download - ID:712726
1024×768
slideserve.com
PPT - POWERPC PowerPoint Presentation, free download - ID:…
1024×768
slideserve.com
PPT - POWERPC PowerPoint Presentation, free download - ID:7…
1024×768
SlideServe
PPT - POWERPC ARCHITECTURE PowerPoint Presentation, free download - ID ...
1024×768
SlideServe
PPT - POWERPC ARCHITECTURE PowerPoint Presentation, free dow…
1024×768
SlideServe
PPT - POWERPC ARCHITECTURE PowerPoint Presentation, free dow…
缩小
PowerPC
的搜索范围
CPU PC
Open Firmware
Mac OS 3
Processor PNG
Memory Architecture
Core I5
Memory Model
IBM ThinkPad
Instruction Set Manual
Mac G4
Mac Emulator
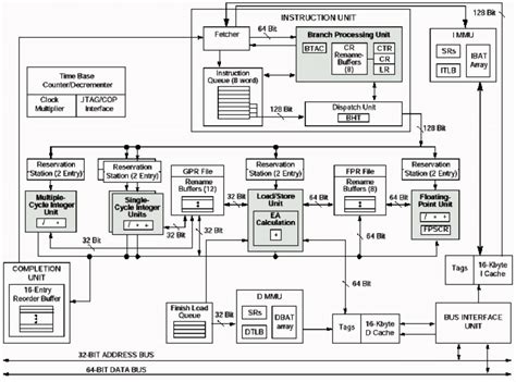
Block Diagram
1024×768
SlideServe
PPT - POWERPC ARCHITECTURE PowerPoint Presentation, free downl…
1024×768
SlideServe
PPT - POWERPC ARCHITECTURE PowerPoint Presentation, free downl…
1024×768
SlideServe
PPT - POWERPC ARCHITECTURE PowerPoint Presentation, free downl…
1024×768
SlideServe
PPT - POWERPC ARCHITECTURE PowerPoint Presentation, free downl…
1024×768
slideserve.com
PPT - PowerPC (RISC) Architecture PowerPoint Presentation, free ...
1052×808
semanticscholar.org
PowerPC 7xx | Semantic Scholar
768×576
studylib.net
PowerPC Architecture: History, Features, and Family
1024×768
SlideServe
PPT - The PowerPC Architecture PowerPoint Presentation, free download ...
1024×768
SlideServe
PPT - The PowerPC Architecture PowerPoint Presentation, free downloa…
1024×768
SlideServe
PPT - The PowerPC Architecture PowerPoint Presentation, free downloa…
640×640
ResearchGate
PowerPC 604 Architecture | Download Scientific Diagram
850×631
ResearchGate
PowerPC 604 Architecture | Download Scientific Diagram
860×773
kindpng.com
Powerpc System Block Diagram, HD Png Downloa…
1024×768
slideserve.com
PPT - PowerPC 601 PowerPoint Presentation, free download - ID:3588008
1024×768
SlideServe
PPT - IBM/Motorola/Apple PowerPC PowerPoint Presentation, free download ...
1024×768
SlideServe
PPT - IBM/Motorola/Apple PowerPC PowerPoint Presentation, free do…
浏览类似
PowerPC
的更多搜索
Apple Dtk
Arm Logo
Old Apple
Mac OS
标志
$405
750 G3
E500v2
Wikipedia
Freescale
Fabs
Isa
1024×768
SlideServe
PPT - IBM/Motorola/Apple PowerPC PowerPoint Presentation, free downl…
1024×768
SlideServe
PPT - IBM/Motorola/Apple PowerPC PowerPoint Presentation, free downl…
1024×768
SlideServe
PPT - IBM/Motorola/Apple PowerPC PowerPoint Presentation, free downl…
1024×768
SlideServe
PPT - IBM/Motorola/Apple PowerPC PowerPoint Presentation, free downl…
1024×768
SlideServe
PPT - PowerPC Architecture and Assembly Language PowerPoint ...
1024×709
slideserve.com
PPT - PowerPC PowerPoint Presentation, free download - ID:5138647
1024×768
SlideServe
PPT - POWERPC ARCHITECTURE PowerPoint Presentation, free download - ID ...
某些结果已被隐藏,因为你可能无法访问这些结果。
显示无法访问的结果
报告不当内容
请选择下列任一选项。
无关
低俗内容
成人
儿童性侵犯
反馈